
马自达制造转子动力汽车已经数十年了。它推出的最后一款是2012年停止生产的RX-8。从那时起,关于后继车型的传言时有发生,但没有一个成为现实。马自达确实表示,他们将在2019年将这款不寻常的发动机带回来,尽管它是2022款MX-30电动跨界车的增程器。

马自达仍在以这样或那样的方式推动转子动力。这一次,一项专利暗示了比小型电动跨界车中的增程器更令人兴奋的东西。马自达最新提交的文件表明,它正在考虑采用混合动力技术的后轮驱动、转子动力汽车。

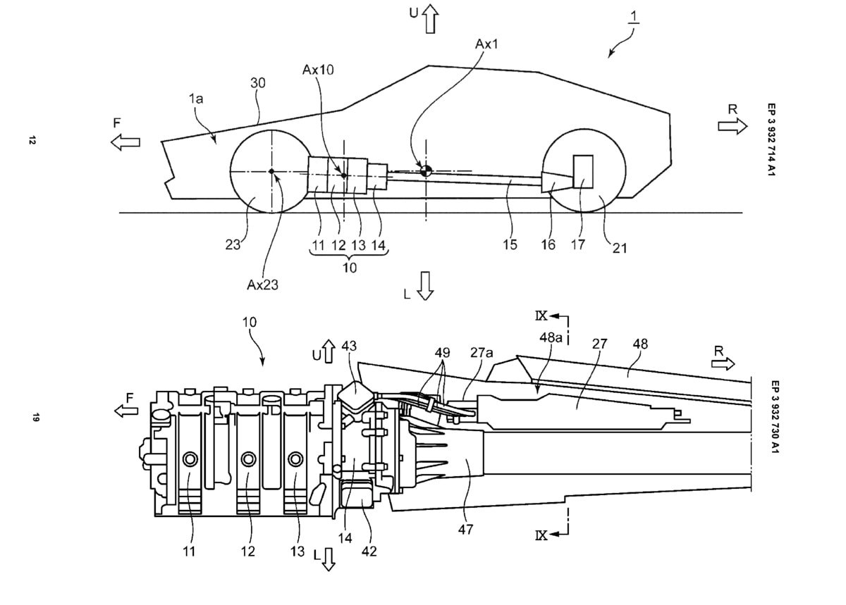
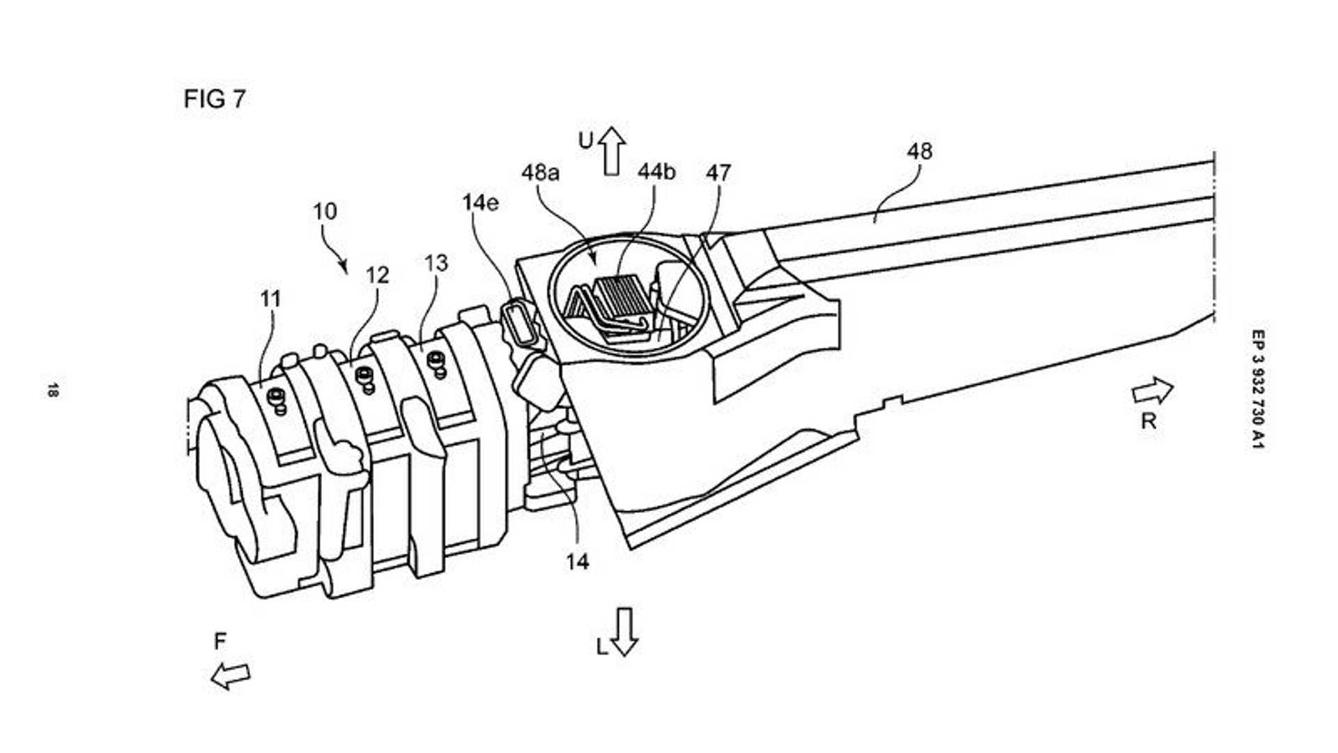
这不是马自达第一次为转子混合动力系统申请专利。几年前,该公司申请了一款配备内燃机和电动机的车辆。它还表示它可以与转子动力装置配套使用。但是,新专利明确显示了前部的转子发动机。不仅如此,该车还将采用三转子布置。马自达最后一次这样做是在90年代初期的Cosmo coupe上。鉴于其布局,它可能是基于马自达的新后轮驱动平台。

但是,仅仅因为一个制造商申请了一个专利,并不意味着它会推行这些想法。也就是说,马自达的专利表明它不愿意放弃开发该发动机。此外,2021年8月左右提交的另一份文件显示了似乎是双门轿车的车尾。这是否暗示2015年展示的量产RX-Vision概念仍有待商榷,但它为转子轿跑车的传言火上浇油。
新浪汽车公众号
更多汽车资讯,涨知识赢好礼扫描二维码关注(auto_sina)